ADSL/Cable路由器的应用和普及随着宽频上网的普及和价格的下降,越来越多的中小企业和家庭使用ADSL或CableModem来上网。在此情况下,为使企业或家中多台电脑组成的小型局域网接入互联网,使用ADSL/Cable路由器是最佳选择。ADSL/Cable路由器可支持多达二百多个用户,可配置为DHCP服务器,且可作为您的局域网上唯一能被外部识别的互联网网关;您还可以通过配置限制内部用户访问互联网,路由器内建的防火墙还可以抵御黑客的入侵。
ADSL/Cable路由器的安装和使用非常简单。以ADSL路由器为例,当您申请了ADSL上网后,ISP会为您安装好ADSLModem,您只需要将ADSLModem的以太网接口连接至ADSL路由器的WAN(广域网)接口,再将ADSL路由器的LAN(局域网)接口连接到集线器或交换机或直接接电脑即可。下面是ADSL路由器连接示意图:

既然ADSL/Cable路由器功能强大,使用方便,它的内部构造如何,又是怎样工作的呢?下面以台湾产EA-2204型ADSL/Cable路由器为例,给大家详细介绍,希望大家通过本文,能理解ADSL/Cable路由器的基本知识。
一、EA2204路由器的主要性能特点
EA-2204型ADSL/Cable路由器的主要功能特点如下:
★可连接ADSL/CableModem或以太主干网
★内建4个10/100M交换机端口
只用一个IP地址就能把您的全部电脑连接到国际互联网
★可通过内部局域网上任何一部电脑用浏览器(IE)进行配置
★建立防火墙防止黑客入侵
★可同时作为DHCP服务器和用户端
★管理人员可控制特定内部用户访问互联网
二、外观及接口

上图为EA-2204的前面板,通过面板指示灯,您可以了解路由器目前的连线状态,下面的表格所示为各指示灯名称及状态说明:
指示灯说明
POWER电源指示
WANLink表示广域网接口正确连接
RxD显示广域网接口正在接收
TxD显示广域网接口正在发送
SerialData闪烁代表ASYNC接口正在发送或接收
DCDASYNC接口接56KModem或ISDNTA时,该灯亮
1Link表示局域网接口正确连接,该灯闪烁时表示正在接收或发送
2ACT
3100表示10/100Mbps传输模式
410
LANFDX表示全双工模式
灯号COL
下图所示为EA-2204的背板:

标识说明
LAN10/1001、2、3、4连接到10/100BaseT以太网注:1号接口为Uplink
Uplink/Normal转换开关。如要直接连接电脑,需将控制开关拨至Normal位置,连接集线器或交换机,需将开关拨到Uplink位置。
Reset复位键。注意:当按下该开关3秒种后,路由器中您设定的资料将被删除。
Serial连接56KModem或ISDNTA
WAN连接ADSLModem或CableModem
5VDC5VDC/2.0A电源插孔,连接市电电源适配器
三、内部结构及电路分析
要想认识ADSL/Cable路由器,我们先来查看路由器内部结构全貌,再详细了解各块电路的工作原理。EA-2204的内部构造十分简单,只有一块线路板,外观及主要部件名称如上图所示。下面对其分别详尽解释,以便您能更好地了解。
1、EA-2204电路框图
从电路框图看,外置的AC/DC电源适配器将市电变换成直流,再经过DC稳压滤波给整个电路提供5V和3.3VDC稳定工作电源。时钟电路为CPU、RAM和各种控制芯片提供7.372M、20M、25M、50M的工作时钟信号。EA-2204核心是一颗ARM7处理器,通过系统总线连接FLASH和SDRAM,路由器上电后,CPU从FLASH中读取程序和配置数据进行初始化,SDRAM为程序运行和数据处理提供临时存储空间。CPU复位电路在系统上电或电源异常又恢复时使CPU自动复位,用户在必要时可通过按后面板上的复位开关来使CPU复位。CPU控制广域以太网控制芯片,通过一个RJ-45接口或RS232接口,连接国际互联网来处理数据。一个4端口交换控制器,通过四个RJ-45连接局域网集线器、交换机或连接电脑,直接进行数据交换或通过CPU控制与广域网连接进行数据处理。

下面对各部分详细介绍。
2、电源电路

EA-2204路由器采用外置电源适配器连接市电供电。该电源适配器内部采用开关电源,具有AC电压适应范围宽、重量轻、输出电压稳定、效率高等特点。它适用于世界各地区,可以在市电电压95V到240V范围正常工作,提供5V直流稳定输出。
5V直流经路由器背板电源插座输入,经过电感滤波,分两路给整个电路供电。一路直接供给工作电压为5V的电路,另一路通过集成电路PJ1084进行电压变换,得到部分电路工作所需要的3.3V电压。
PJ1084是一种低压差的线性电压调整集成电路。其主要参数如下:
电压输入:最大12V
输出电流:最大5A
输出电压:通过外部电路可调,固定2.5V或3.3V
输入输出电压差:最大1.3V
稳压精度:1%
该稳压集成电路有TO-220和TO-263两种封装,TO-220在功耗较大时可加装散热片,TO-263是贴片型封装,因EA2204的电路功耗较小(实测工作电流仅500mA),所以使用的是TO-263封装,直接贴装在PCB上即可。
3、复位电路
CPU复位电路分为2部分,一是在系统上电或电源异常又恢复时使CPU自动复位;另一部分是在软件运行异常出现系统死机的情况下,用户可通过按后面板上的复位开关来使CPU复位。

复位信号是由一个十分简单的RC电路、按钮开关来产生。当系统上电或人为按下复位开关,会产生一个低电平脉冲,该脉冲经过数字门电路整形后使CPU复位,进行初始化。
HC132是一CMOS逻辑门电路,工作电压2-6V,其输入/输出的逻辑关系如下图表所示:
在路由器电路中,利用门电路的输入高电平有电压最小值、输入低电平有电压最大值的特点和门电路的整形作用,与周边二极管和电容、电阻组成上电脉冲产生电路,产生系统复位脉冲信号。
4、时钟信号
EA-2204电路中,共用了4个晶体振荡器,分别提供各部分IC工作所需的时钟信号。
50M―CPU电路S3C4510B01主时钟25M―交换控制器RTL8305S时钟
20M―以太网控制器RTL8019AS时钟
7.372M―异步串口通信芯片TG16C550CJ时钟
5、CPU
EA-2204路由器的核心是一颗韩国三星电子生产的S3C4510B―16/32位RISC(精简指令集计算机)微控制器。该微控制器专为以太网通信系统的集线器和路由器而设计,具有低成本和高性能的特点。
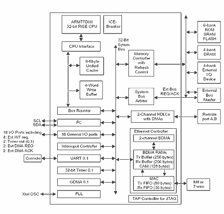
S3C4510B中内置了ARM公司设计的16/32位ARM7TDMI处理器,其内部框图如下:

由图可见,S3C4510B提供了8K字节的Cache(高速缓存)和以太控制器,内置2通道的HDLC(高级数据链路控制),2个UART(通用异步收发)通道,内置32位定时器和18个通用可编程I/O端口。S3C4510B内部采用32位系统总线,有I2C接口,还集成了中断控制器、DRAM/SDRAM控制器、ROM/SRAM和闪存控制器。以上功能特点均集成在此单芯片中,作为路由器的核心,可大大减少系统成本。
软件方面,S3C4510B因内置ARM7TDMI核,可以执行32位的ARM指令,也可执行16位的THUMB指令。
S3C4510B采用3.3V电压供电,208脚的QFP封装,操作频率最高达50MHz。EA-2204中采用50MHz外部频率,因S3C4510B内部有锁相环电路可将外部振荡频率提升5倍作为内部系统时钟,所以内部最高频率实际上已达250MHz!

6、FLASH闪存

S3C4510B使用8/16/32位的外部总线,可支持ROM、SRAM、闪存、DRAM。EA-2204路由器使用EON公司的闪存EN29-F040-70J存储数据。该芯片在PCB上使用插座安装,而不是直接焊接到PCB上,是方便生产过程中将程序数据先写入芯片,再将芯片装入插座中。该芯片需重写数据或出现问题,更换起来也容易。
7、SDRAM

S3C4510B支持EDO内存和普通的SDRAM。EA-2204中使用了2颗ESMT公司的M12L16161C―――512K字节、16位、2Banks同步SDRAM。该SDRAM采用3.3V供电,自动自主刷新,刷新周期为32毫秒,接口为LVTTL电平,采用CMOS工艺制程,50TSOP封装。细心观察可见该2颗SDRAM上有“-6T”字样,表示其最高工作频率可达166MHz。
8、以太网控制器

以太广域网控制电路通过系统总线连接微控制器,通过RJ45和双绞线连接广域网(WAN),该部分电路还提供RS-232串口连接广域网,电路的核心是以太网控制芯片RTL8019AS和异步通信控制芯片TG16C550CJ。
RTL8019AS中集成了16K字节的SRAM和全双工以太网控制电路,兼容EthernetII和IEEE802.3、10BASE-T等协议,支持全双工和即插即用功能。还有一个重要特点是通过连接EEPROM可在线编程,在工厂生产PCBA组装时,先将空白内容的EEPROM装到PCB上,在出厂前将工厂设置数据写入其中,方便了生产。
EA-2204路由器中使用台湾HOTEK公司的串行EEPROM芯片HT93LC46,其容量为1K,可重复写10万次以上,通过芯片时钟、数据出入/输出共3根线即可控制其读写,用微控制器操作非常方便。
EPM3032ALC44-10是一种电可编程的逻辑电路,内含32单元、600门、34个I/O口。通过PCB上预留的插头接口,在工厂生产过程中,对该芯片进行编程,使之实现特定的逻辑功能(代替很多通用门电路,节省空间且具有保密作用,如在不同通信状态下驱动LED显示等)。
EA-2204路由器还提供了RS-232接口,以方便在ADSL断线时连接56KModem或ISDNTA上广域网。RS232串口的通信主要通过异步通信芯片TG16C550CJ和232接口芯片HIN208CB来完成。
TG16C550CJ工作于交替模式(先进先出),将接收的CPU数据进行并行-串行转换后通过232电平转换发送至串口MODEM;或将从串口接收的数据进行串行-并行转换,发送给CPU进行处理。其内置一个可编程的波特率发生器,根据外接晶体振荡频率(EA2204中使用的是7.372M)进行分频得到所需的各种串行通信速率。
HIN208CN的作用是RS232接口电平转换。因TG16C550CJ异步通信芯片工作电压为5V,为了提供RS232接口,必须将信号进行电平转换到12V左右。HIN208CN内含电压变换电路,通过外接4个0.1微法的电容,可将电压由单5V变换到双10V,满足RS232串口通信的要求。
9、交换控制器
EA-2204路由器提供有4个LAN端口,可连接到10/100BaseT以太网,各端口之间有交换功能。交换控制芯片采用台湾瑞昱公司最新设计的5端口10/100Mbps高速以太网络交换器RTL8305S。该芯片集成了5个MAC(媒体存取控制器)、5个实体层收发器、1M位的SRAM和1K个MAC地址记忆区,适合局域网的交换器、广域网的路由器的应用。
RTL8305S的每一个端口均可支持100Mbps的100BASE-TX高速以太网传输或10Mbps的10BASE-T的以太网传输。在EA-2204路由器电路中,其第5端口设定为一个MII(独立媒体接口)来衔接微控制器S3C4510B中的以太网控制器。RTL8305S提供自动协商电路,自动设定是100Mbps或10Mbps、全双工或半双工工作和是否进行流量控制。
RTL8305S的一个重要特点是提供了连接(LINK)、激活、冲突、全双工、10Mbps或100Mbps的指示灯功能。通过LED显示,使用者很容易判断网络的连接状态。RTL8305S集成度高,耗电小,采用128脚的PQFP封装,如上图所示。

下图为RTL8305S连接局域网的示意图,图中所示为一个LAN端口,EA-2204共4个LAN端口。左边为RTL8305S,中间为隔离变压器,右边为RJ45插座,通过双绞线连接到局域网。
10、10/100BASE-T4端口磁性组件和10BASE-T滤波器
如图所示,在4个交换端口与交换控制芯片之间,需要接入10/100BASE-T专用隔离变压器,其型号为LANKom公司的SQ-H44R,该模块中共有4通道(8路,每通道2路,一路接收,一路发送,每通道对应一个RJ-45端口)。
每路的作用有两个:一是将路由器和局域网间的直流连接隔离,绝缘电压可达1500V(有效值);另一个是传输信号,传输比为1:1。此外,每一路内部均接有互感器以消除共模信号,防止干扰造成信号错误。
LF-161C为一通道(2路)10BASE-T滤波器,用于连接ADSL调制解调器至广域网的端口。除将路由器和Cable/ADSL调制解调器间的直流连接和传输信号之外,每一路内部均接有互感器和多级LC滤波电路以消除干扰,防止信号错误。
11、LED显示
EA-2204路由器设有多个LED指示灯,用来指示电路工作状态。如上图所示,其LED采用贴片元件,SMT工艺可大大提高生产效率。同时,为了使整机装配完成后面板上能看到LED发光状态,采用了灵巧的设计,用透明塑料作成类似光纤传导体,将光透到机壳外。

12、RJ-45接口及双绞线
EA-2204路由器的以太网10/100BASE-T接口均使用RJ45连接器。如下图所示为母端插座,其接线共有8根,编号1-8。
RJ45电缆端接头为公插头,下图所示为实物图。

标号名称颜色描述
1TX+白底橙纹发送数据正
2TX-橙色发送数据负
3RX+白底绿纹接收数据正
4N/C蓝色未连接
5N/C白底蓝纹未连接
6RX-绿色接收数据负
7N/C白底棕纹未连接
8N/C棕色未连接
以上为电缆端8根接线的用途,在HUB端,TX和RX需调换过来。