随着存储技术的迅速发展,存储容量得到了迅速的增长,存储系统的数据传输速度成为了主要的瓶颈。光纤的传输具有其速度上的优势,然而,在光纤传输要受到光纤通道接口的限制,因此光纤通道应用于高速数据传输的一个关键技术问题是接口的设计问题,本文对有效地解决高数据传输在接口处的瓶颈具有现实意义。
1 方案设计
完整的实现要包含PC机软件编程、Virtex-5开发板的底层链路实现。PC机的软件编写主要实现链路的创建注销控制、数据的组帧、数据的传输控制、传输过程中的显示;VirteX-5开发板主要实现数据的链路贯通、支持上位机所定义的帧结构的传输过程。

如图1所示,接口适配器功能实现过程主要包含协议的正确理解,按照协议的帧结构和数据结构的组织、具体的实现模块的设计与编写、结合VirteX-5底层链路的贯通实现光纤通信接口适配器功能。
2 设计的具体实现
2.1 协议的分析与与裁剪
针对不同的应用环境应当对FC协议进行适当的裁剪,尽可能地有效利用协议标准。FC协议是一个具有五层组成的协议体系。包括:FC-0层、FC-1层、FC-2层、FC-3层、FC-4层。
各层的功能分别为:
(1):FC-O:主要规定了物理接口,包含传输介质,收发器及接口等。
(2)FC-1:8 B/10 B编码;串化解串;比特与字同步。
(3)FC-2规定了光纤通道的传输机制:
有序集的检测与识别;FC端口状态机;帧的发送与接收,帧接收时要进行有效性检查;流量控制;帧管理;交换与序列管理;数据帧与响应;多播与广播;分段与重组;差错检测与回复。
(4)FC-3:基本链路服务;扩展链路服务;查询组。
(5)FC-4:映射上层协议,本文主要是映射MILstd-1553B协议。
2.2 软件编程中各模块的代码的设计
软件实现的设计部分:GUI模块设计、设备抽象层的设计、任务处理模块的设计、FC的协议及物理功能模块的设计。
(1)GUI部分主要是显示作用,可以对接口适配器的相关参数进行设置和界面显示。GUI模块设计内容有:整体界面、链路参数区、链路建立区、信息显示区。
(2)设备抽象层的设计。该部分在于屏蔽下层不同物理设备间的差异;提供较为简便的方式,使上层模块同逻辑进行通信。本层需要提供对上层支持的设备操作接口及在内部通过封装WinDriver驱动提供的功能接口,实现对上层的功能支持。
(3)任务处理模块的设计。主要实现对链路和数据各自的不同的任务操作情况。链路数据区与文件数据区分别需要保存各自的任务数据及状态,另外,它是 GUI模块变更LIST的依据,从而还需要保存下层协议所具备的状态及数据。
(4)FC协议及物理功能模块的设计。该部分主要描述任务发送协议与链路建立协议。
①链路建立的注册过程:数据传输前,需要通过注册建立发送端与接收端的链路。首先,发送端把待注册的地址ID等信息嵌入帧信息中,发送帧信息给接收端;然后,接收端收到帧信息后,解读出相关的信息,若符合帧的完整性等检查,则两端建立链路。若不满足相关检
查则终止该次注册过程。
②链路的注销过程:当需要注销链路时,首先,发送端把待注销的地址ID等信息嵌入帧信息中,发送帧信息给接收端;然后,接收端收到帧信息后,解读出相关的信息,若符合帧的完整性等检查,则两端注销链路,若不满足相关检查则终止该次注销过程。
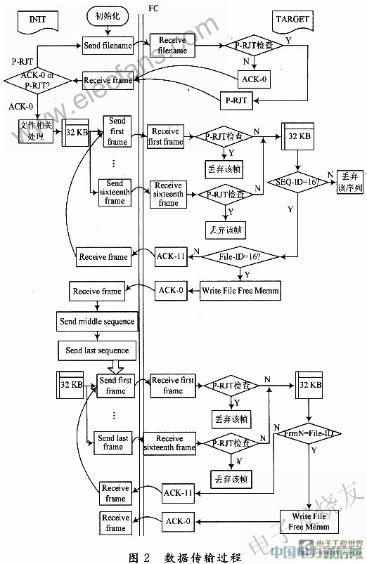
③数据传输过程:数据传输是链路建立的根本目的,简化的数据传输过程如图2所示。